| Component Location |

| 1. Front seat back cover |
| Replacement |
|
|
| 1. |
Remove the front seat assembly.
(Refer to Front Seat - "Front Seat Assembly")
|
| 2. |
Remove the front seat shield outer cover.
(Refer to Front Seat - "Front Seat Shield Outer Cover")
|
| 3. |
Remove the front seat shield inner cover.
(Refer to Front Seat - "Front Seat Shield Inner Cover")
|
| 4. |
Push the lock pin (B), remove the front seat headrest (A).
|
| 5. |
Remove the front seat lower protector (A).
|
| 6. |
Disconnect the front seat lower connector (A).
|
| 7. |
Turn the front seat back cover inside out. Then pull out the headrest
guides (A) while pinching the upper part of the guides, and remove them.
|
| 8. |
Remove the front seat back cover (A) from the front seat back frame.
|
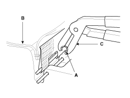
| 9. |
After removing the hog-ring (A) on the front of seat back and remove
the front seat back cover (B).
|
| 10. |
To install, reverse the removal procedure.
|
Front Seat Shield Inner Cover
Front Seat Cushion CoverHyundai Creta GS 2014-2025 Owners Manual: Driver's and passenger's front air
bag
Your vehicle is equipped with a
Supplemental Restraint (Air Bag)
System and lap/shoulder belts at
both the driver and passenger seating
positions.
The indications of the system's presence
are the letters "AIR BAG"
engraved on the air bag pad cover in
the steering wheel ...
Lincoln Nautilus 2018-2025 Owners Manual: Waypoints. Route Guidance
Waypoints
Adding a Waypoint
Press the Add Waypoint button
when in an active navigation
session.
Enter your waypoint on the keyboard.
Press Search.
Select a waypoint from the list.
Press Add to Trip.
Editing Waypoints
Press the waypoint you would like to edit.
Select an option to reorder ...