| Component Location |

| 1. Rear seat cushion cover
|
| Replacement |
| 1. |
Remove the rear seat cushion assembly.
(Refer to Rear Seat - "Rear Seat Assembly")
|
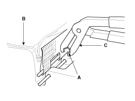
| 2. |
After removing the hog-ring clips (A) on the rear of seat cushion and
remove the rear seat cushion cover (B).
[Front side]
[Rear side]
|
| 3. |
To install, reverse the removal procedure.
|
Rear Seat Back Cover
Front Seat BeltLincoln Nautilus 2018-2025 Owners Manual: Stopping the Liftgate Movement. Liftgate Obstacle Detection. Liftgate – Troubleshooting
Stopping the Liftgate Movement
Note: Do not apply sudden excessive force
to the liftgate while it is in motion. This could
damage the power liftgate and its
components.
Note: Selections will vary depending on
region or options.
You can stop the liftgate movement by doing
any of the following:
...
Hyundai Creta GS 2014-2025 Service Manual: Description and operation
Description
Evaporative Emission Control System prevents fuel vapor stored in fuel tank
from vaporizing into the atmosphere. When the fuel evaporates in the fuel tank,
the vapor passes through vent hoses or tubes to the canister filled with charcoal
and the canister temporar ...