| Description |
| Specification |
|
Item |
Specification |
|
|
Rated voltage |
12 V, 0.8 kW |
|
|
The number of pinion teeth |
9 |
|
|
Performance [No-load, 11-5V] |
Ampere |
Max. 65 A |
|
Speed |
Min. 2715 rpm |
|
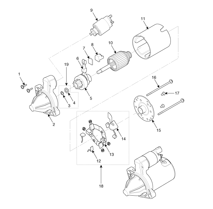
| Components |

| 1. Screw 2. Front bracket assembly 3. Stop ring 4. Stopper 5. Overrunning clutch 6. Lever 7. Lever plate |
8. Lever packing 9. Magnet switch assembly 10. Armature assembly 11. Yoke assembly 12. Brush (-) 13. Brush holder 14. Brush (+) |
15. Rear bracket assembly 16. Through bolt 17. Screw 18. Brush holder assembly 19. Stopper set |
| Circuit Diagram |

| Removal |
| 1. |
Disconnect the battery negative terminal.
|
| 2. |
Remove the air duct and air cleaner assembly.
(Refer to Engine Mechanical System - "Air Cleaner")
|
| 3. |
Disconnect the starter cable (B) from the B terminal on the solenoid
then disconnect the connector from the S terminal (A).
|
| 4. |
Remove the 2 bolts holding the starter, then remove the starter (A).
|
| Installation |
| 1. |
Install in the reverse order of removal.
|
| Disassembly |
| 1. |
Disconnect the M-terminal (A) on the magnet switch assembly.
|
| 2. |
After loosening the screws (A), detach the magnet switch ssembly (B).
|
| 3. |
Loosen the brush holder mounting screws (A) and the trough bolts (B).
|
| 4. |
Remove the rear bracket assembly (A) and brush holder assembly (B).
|
| 5. |
Remove the yoke assembly (A).
|
| 6. |
Remove the packing (A), lever plate (B), lever (C), armature assembly
(D).
|
| 7. |
Press the stopper (A) using a socket (B).
|
| 8. |
After removing the stop ring (A) using stop ring pliers (B).
|
| 9. |
Disconnect the stopper (A), overrunning clutch (B) and internal gear
(C).
|
| 10. |
Reassembly is the reverse of disassembly.
|
| Inspection |
| 1. |
Disconnect the lead wire from the M-terminal of solenoid switch.
|
| 2. |
Connect the battery as shown. If the starter pinion pops out, it is
working properly.
|
| 3. |
Disconnect the battery from the M terminal.
If the pinion does not retract, the hold-in coil is working properly.
|
| 4. |
Disconnect the battery also from the body. If the pinion retracts immediately,
it is working properly.
|
| 1. |
Place the starter motor in a vise equipped with soft jaws and connect
a fully-charged 12-volt battery to starter motor as follows.
|
| 2. |
Connect a test ammeter (150-ampere scale) and carbon pile rheostats
shown is the illustration.
|
| 3. |
Connect a voltmeter (15-volt scale) across starter motor.
|
| 4. |
Rotate carbon pile to the off position.
|
| 5. |
Connect the battery cable from battery's negative post to the starter
motor body.
|
| 6. |
Adjust until battery voltage shown on the voltmeter reads 11volts.
|
| 7. |
Confirm that the maximum amperage is within the specifications and that
the starter motor turns smoothly and freely.
|
| 1. |
Remove the starter.
|
| 2. |
Disassemble the starter as shown at the beginning of this procedure.
|
| 3. |
Inspect the armature for wear or damage from contact with the permanent
magnet. If there is wear or damage, replace the armature.
|
| 4. |
Check the commutator (A) surface. If the surface is dirty or burnt,
resurface with emery cloth or a lathe within the following specifications,
or recondition with #500 or #600 sandpaper (B).
|
| 5. |
Check the commutator diameter. If the diameter is below the service
limit, replace the armature.
|
| 6. |
Measure the commutator (A) runout.
|
| 7. |
Check the mica depth (A). If the mica is too high (B), undercut the
mica with a hacksaw blade to the proper depth. Cut away all the mica
(C) between the commutator segments. The undercut should not be too
shallow, too narrow, or v-shaped (D).
|
| 8. |
Check for continuity between the segments of the commutator. If an open
circuit exists between any segments, replace the armature.
|
| 9. |
Check with an ohmmeter that no continuity exists between the commutator
(A) and armature coil core (B), and between the commutator and armature
shaft (C). If continuity exists, replace the armature.
|


| 1. |
Slide the overrunning clutch along the shaft.
Replace it if does not slide smoothly.
|
| 2. |
Rotate the overrunning clutch both ways.
Does it lock in one direction and rotate smoothly in reverse? If it
does not lock in either direction or it locks in both directions, replace
it.
|
| 3. |
If the starter drive gear is worn or damaged, replace the overrunning
clutch assembly. (the gear is not available separately).
Check the condition of the flywheel or torque converter ring gear if
the starter drive gear teeth are damaged.
|
| Cleaning |
| 1. |
Do not immerse parts in cleaning solvent. Immersing the yoke assembly
and/or armature will damage the insulation. Wipe these parts with a
cloth only.
|
| 2. |
Do not immerse the drive unit in cleaning solvent. The overrun clutch
is pre-lubricated at the factory and solvent will wash lubrication from
the clutch.
|
| 3. |
The drive unit may be cleaned with a brush moistened with cleaning solvent
and wiped dry with a cloth.
|
Troubleshooting
Starter Relay: Repair proceduresHyundai Creta GS 2014-2025 Service Manual: Junction Box (Passenger Compartment)
Components and components location
Component Location
Smart Junction Block
Description and operation
Description
Communication Network Diagram
Abbreviation
Explanation
4WD_ECU
4WD Contro ...
Lincoln Nautilus 2018-2025 Owners Manual: What Is Blind Spot Information System? How Does Blind Spot Information System Work? Blind Spot Information System Precautions. Blind Spot Information System Limitations
What Is Blind Spot Information System
Blind spot information system detects
vehicles that may have entered the blind
spot zone.
How Does Blind Spot Information System Work
Blind spot information system uses sensors
on both sides of your vehicle, detecting
rearward from the exterior mirrors to
a ...